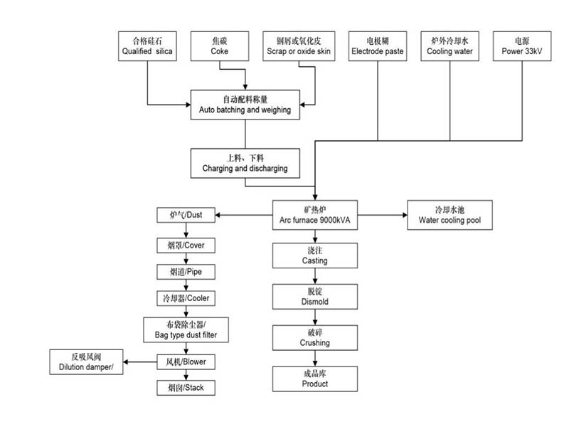
The process from raw materials to finished product (FeSi) includes the full production cycle of raw material storage, fuel acceptance, batching, mixing, reduction, and tapping. Key equipment includes the ferrosilicon furnace, raw material processing workshop, automatic batching system, feeding system, cooling water circulation system, dust removal system, power supply and distribution system, automation system, ferrosilicon casting workshop, and finished product handling system. The process complies with the requirements of GB/T 2272.
